Logo
WiadomościAktualnościLaser zamiast wycieraczek w Tesli

Laser zamiast wycieraczek w Tesli

Daniel Werner
Daniel Werner

Tesla opatentowała laser, który czyści powierzchnie szklane. Przyjrzeliśmy się bliżej zgłoszeniu patentowemu. Urządzenie może mieć szerokie zastosowanie.

Tesla opatentowała laser do czyszczenia powierzchni szklanych
Auto Bild
Tesla opatentowała laser do czyszczenia powierzchni szklanych

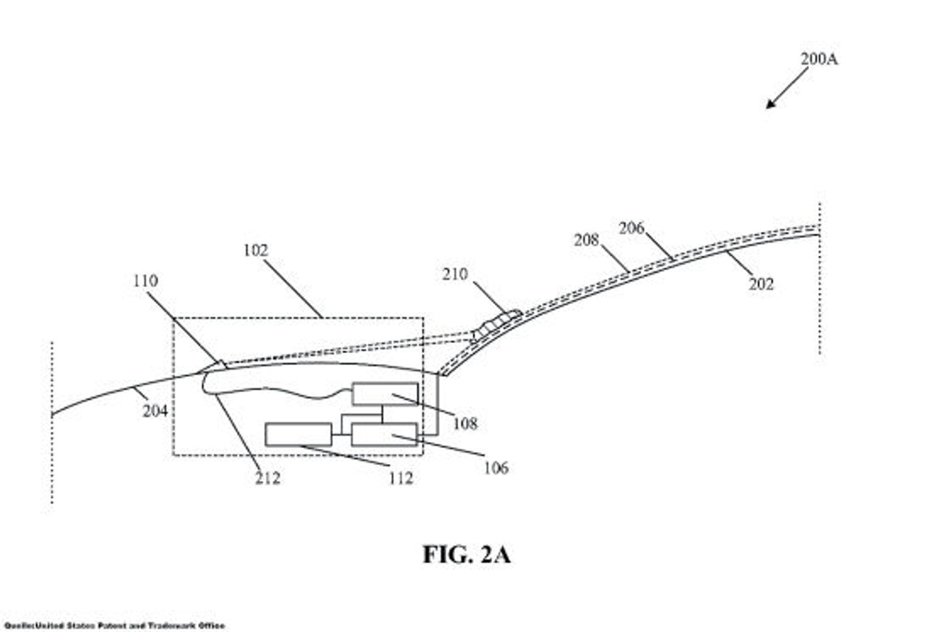
Firma Elona Muska planuje zastosowanie techniki laserowej do czyszczenia szyb. Pod koniec listopada opublikowano dokumentację patentową amerykańskiego producenta samochodów, według której system laserowy usuwać ma większy brud z powierzchni szklanych.

Patent Tesli – laser usuwa warstwę brudu

Nowatorska metoda mogłaby znaleźć zastosowanie do czyszczenia przedniej szyby samochodu, jednak rysunki w opublikowanej dokumentacji pokazują także możliwość użycia systemu do czyszczenia reflektorów, kierunkowskazów i pojedynczych czujników. Firmie Elona Muska zapewne bardzo zależy też na utrzymaniu w czystości kamer Autopilota, który ma umożliwić w przyszłości w pełni autonomiczną jazdę.

Dalszy ciąg artykułu pod materiałem wideo

W zgłoszeniu patentowym chodzi przede wszystkim o usunięcie grubych zanieczyszczeń. Najpierw zostają one namierzone, a potem precyzyjnie „ostrzelane”. Z dokumentacji nie wynika, czy możliwe jest usunięcie płynów. Można sobie więc wyobrazić, że Tesla nie zrezygnuje całkiem z wycieraczek. Przy tym mogłaby sięgnąć po własny wynalazek – na początku 2019 r. Amerykanie opatentowali wycieraczkę, która obejmuje całą przednią szybę i czyści ją jednym ruchem. Oba systemy mogłyby ze sobą współpracować. W przypadku przedniej szyby laser usuwałby duże zanieczyszczenia, a wycieraczka zbierałaby wodę.

Patent Tesli – nie tylko w samochodach

Laserowy system czyszczenia szyb Tesli może znaleźć zastosowanie inne niż w motoryzacji. Dobrze nadałby się do utrzymania w czystości paneli słonecznych na dachach budynków, co jest ważne z ekonomicznego punktu widzenia, bo ograniczona powierzchnia panelu oznacza mniej pozyskiwanej energii.

Zgłoszenie patentu przez Teslę, nie oznacza wcale, że system wejdzie do produkcji. Lasery dobrze pracują w stabilnych warunkach, niekoniecznie w takich, gdzie muszą przez lata działać na ruchomym obiekcie i przy zmiennej pogodzie. Teoretycznie jest to możliwe, wymagałoby jednak dużych nakładów. Istotny jest także wpływ na zdrowie.

Autor Daniel Werner
Daniel Werner
Powiązane tematy:
Przeczytaj skrót artykułu
Zapytaj Onet Czat z AI
Poznaj funkcje AI
AI assistant icon for Onet Chat
Skrót artykułu

To jest materiał Premium

Dołącz do Premium i odblokuj wszystkie funkcje dla materiałów Premium:

czytaj słuchaj skracaj

Dołącz do premium