Kiedy powiemy trójkołowiec, większość z nas przypomni sobie swoje lata dziecięce. Jedno koło z przodu, kierownica, pedały i napęd na tylną oś. A moc? Dwie małe nóżki. Dla tego, kto mile wspomina ten czas, na pewno będzie zaskoczeniem, że firma Harley-Davidson przygotowuje się do produkcji trójkołowca.
O podobnym pojeździe nie piszemy w naszym serwisie po raz pierwszy. Na przykład norweskie Brudeli przygotowało prototyp 625L, który zaprezentował się podczas ostatnich targów EICMA. Podstawą trójkołowca jest KTM 625 SMC z silnikiem LC4. Jest także Bombardier Recreational Products (BRP), która przygotowała projekt trójkołowego roadstera Can-Am Spyder, napędzany 4-suwowym 2-cylindrowym silnikiem chłodzonym cieczą firmy Rotax o pojemności 990 cm3. Moc jednostki wynosi 78 kW (106 KM). Klasą samą w sobie są dwa skutery Gilera Fuoco 500 i Piaggio MP3 400.
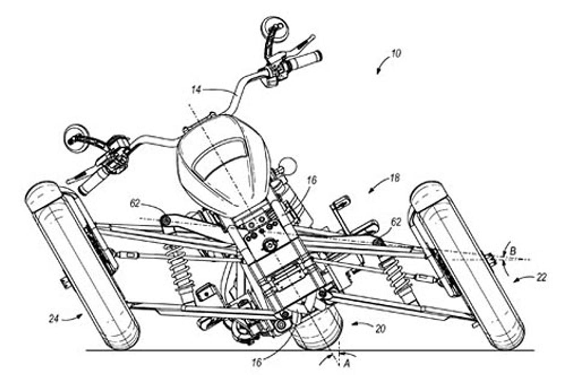
Jednak niewielu spodziewałoby się, że produkcję trójkołowca będzie rozważać także amerykańska spółka Harley-Davidson. Nowa era wymaga jednak nowych rozwiązań i amerykański producent z tradycjami nie chce pozostawać z tyłu. Z tego powodu opatentował w kwietniu całą masę rozwiązań technicznych dla trójkołowca, np. mocowanie kół na przedniej osi czy zawieszenie.
Auto Świat
Harley-Davidson zarejestrował patent na trójkołowca
Harley-Davidson zarejestrował patent na trójkołowca
Auto Świat
Harley-Davidson zarejestrował patent na trójkołowca
Harley-Davidson zarejestrował patent na trójkołowca
Auto Świat
Harley-Davidson zarejestrował patent na trójkołowca
Harley-Davidson zarejestrował patent na trójkołowca
Auto Świat
Harley-Davidson zarejestrował patent na trójkołowca
Harley-Davidson zarejestrował patent na trójkołowca