Firma Škoda Auto zarejestrowała w czeskim urzędzie patentowym swoje oryginalne rozwiązanie klapy bagażnika. Nowa konstrukcja pojawi się w kolejnej generacji limuzyny Superb.
W spisie zatytułowanym „Odchylany tył dla samochodów” możemy przeczytać, że nowa pokrywa bagażnika przekonać ma do Superba zarówno dotychczasowych nabywców konserwatywnych sedanów, które uznawane są za bardziej reprezentacyjne, jak i osoby preferujące nadwozia typu liftback lub hatchback z odchylaną klapą bagażnika połączoną z tylną szybą i jej ramą. Atutem podwójnej pokrywy jest możliwość przewożenia większych przedmiotów, które nie dałoby się włożyć do bagażnika poprzez niewielki otwór w tyle sedana, a zarazem eliminacja potrzeby unoszenia dużej i ciężkiej pokrywy, jeśli do bagażnika chcemy włożyć tylko drobniejsze przedmioty. Jednocześnie auto zachowuje sylwetkę sedana.
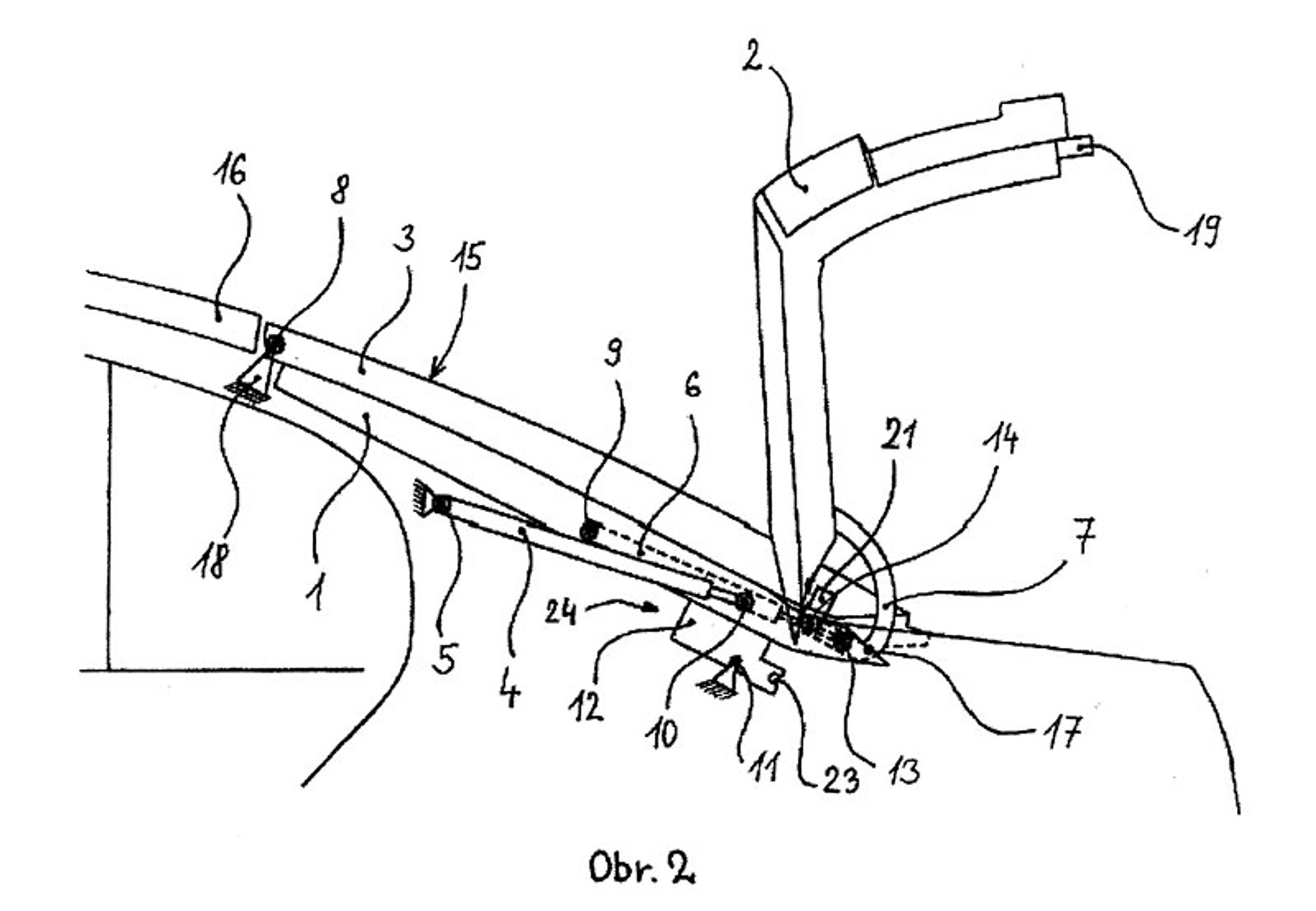
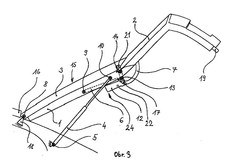
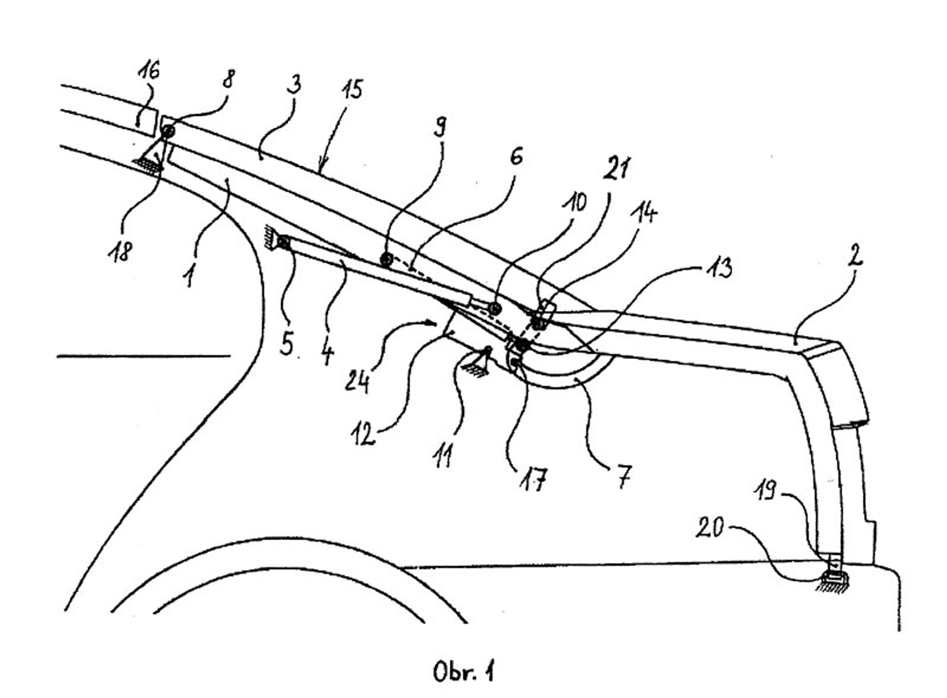
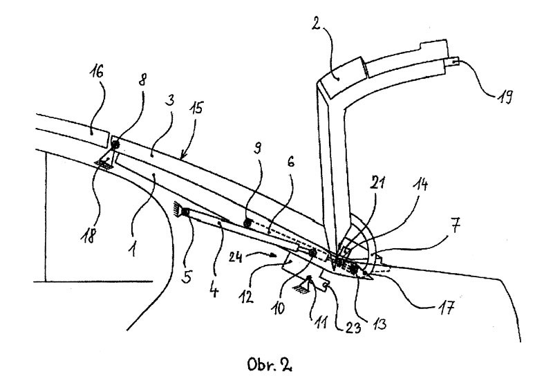
Technicznie nowa pokrywa bagażnika rozdzielona została na dwie części. Góra z tylną szybą przymocowana jest do karoserii za pomocą jednoosiowych zawiasów i jej unoszenie ułatwiają wsporniki. Do dolnej krawędzi górnej części również jednoosiowymi zawiasami dołączono dolny element (klasyczną klapę sedanu), który podnoszony jest za pomocą dodatkowych wsporników przymocowanych do górnej części.
Škoda Auto zarejestrowała także trzy nowe nazwy handlowe – Twingate, Twindoor i Twinback, które prawdopodobnie związane są z nową konstrukcją. Nowa nazwa powinna ułatwić prezentację nowej pokrywy bagażnika klientom.
Źródło: UPV
Czytaj także:▪ Škoda Superb: pierwsze oficjalne zdjęcie▪ Nowa Škoda Superb i jej kolejne ewolucje▪ Nowa Škoda Superb: tajne i oficjalne informacje▪ Nowa Škoda Superb: pierwsza jazda drugą generacją!
Auto Świat
Škoda: nowa podwójna pokrywa bagażnika dla Superba: Twingate, Twindoor czy Twinback?
Škoda: nowa podwójna pokrywa bagażnika dla Superba: Twingate, Twindoor czy Twinback?
Auto Świat
Škoda: nowa podwójna pokrywa bagażnika dla Superba: Twingate, Twindoor czy Twinback?
Škoda: nowa podwójna pokrywa bagażnika dla Superba: Twingate, Twindoor czy Twinback?
Auto Świat
Škoda: nowa podwójna pokrywa bagażnika dla Superba: Twingate, Twindoor czy Twinback?
Škoda: nowa podwójna pokrywa bagażnika dla Superba: Twingate, Twindoor czy Twinback?
Auto Świat
Škoda: nowa podwójna pokrywa bagażnika dla Superba: Twingate, Twindoor czy Twinback?
Škoda: nowa podwójna pokrywa bagażnika dla Superba: Twingate, Twindoor czy Twinback?